浙江新峰机械有限公司
首页
Home
关于我们
Nav
产品展示
Nav
新闻资讯
Nav
联系我们
Nav
企业及产品介绍
Nav
ZHEJIANG XINFENG MACHINERY CO.,LTD
铝合金轮毂模锻成形数值模拟优化分析
6082 铝合金属于Аl-Si-Mg-Mn 系耐热锻铝,具有良好的可成形性、可加工性和热处理后(T6状态)具有较高的机械性能,化学成分见表1,广泛应用于航空固定装置及卡车、船舶类的零部件。本文以6082 铝合金后轮轮毂为研究对象,针对锻造轮毂成形质量,利用有限元数值模拟软件对主要成形工步进行模拟计算,分析成形过程金属流动特点及缺陷产生条件,从而优化铝合金轮毂成形过程。
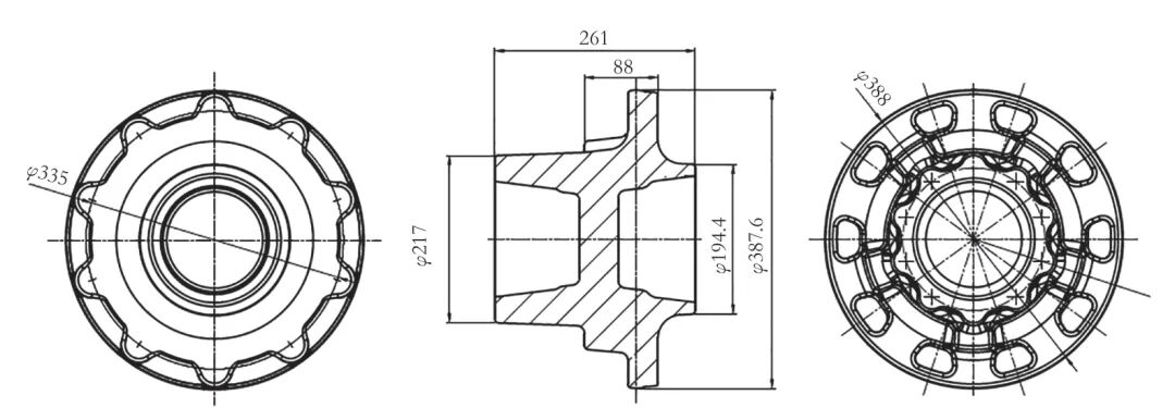
图1 为铝合金轮毂锻件图。该铝合金锻件带有高度88mm、宽度50mm 的凸台;头部存在凹槽和凸台,圆周方向肋薄而长,需要的材料少,材料流动距离远;终锻拔模和充填较难,在锻造成形过程中,由于冷却快导致材料流动性差,易出现折叠、充不满等缺陷;锻件截面在高度方向上变化较大,复杂等级为S3 级,10 个加强肋成形难度较大。
图1 铝合金轮毂锻件图
有限元模拟分析
为解决锻件成形难点、缩短工艺调试周期,对铝合金轮毂锻件的锻造成形过程进行有限元模拟分析,通过优化工艺参数,来获得各工步合理的锻造成形结构,从而指导实际生产,以达到缩短锻件生产周期的目的。结合我司设备特点,确定了铝合金轮毂的锻造工艺方案为压扁→预锻→终锻,通过有限元分析软件对各工步进行模拟分析。
上一篇
汽车铝合金轮毂成型的五大工艺
下一篇
铸造铝合金轮毂低压模具设计
分享到:
首页
联系我们
地址:浙江省嵊州市黄泽镇工业功能区金龙路30号
热线电话:0575-83799989
传真:0575-83032418
CONTACT US
浙江新峰机械有限公司和浙江嵊州元丰模具材料有限公司都隶属于浙江永峰模具旗下子公司。永峰公司创建于一九九三年三月,原名嵊州市剡峰钢模制造有限公司,于2006年11月改名为浙江永峰模具制造有限公司。注册资金3800万元,集团现有员工300多人,年销售额3.5亿。 按照“自主创新求发展,打造品牌核心竞争力”的战略目标,秉承“团结、拼搏、务实、争先”的企业精神,积极推进科技创新,品牌创新,强化质量管理,提升企业形象,取得了明显成效。
关于我们
产品展示
新闻资讯
联系我们
邮箱:fyffyf0001@163.com